Kablovski
pribor
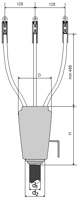
ZAVRŠNICA
SKGm 1kV
Završnica SKGm
1kV se koristi za završavanje energetskih kablova sa izolacijom od termoplastičnih masa
(PVC), nazivnog napona 1kV.
Izrada završnica ovog tipa vrši se postupkom nalivanja dvokomponentne epoksidne
smole.
Izbor veličine završnice vrši se prema datoj tabeli i zavisi od tipa i preseka
kabla.
Izrada završnice vrši se prema uputstvu koje je sastavni deo svakog kompleta.

| Oznaka veličine |
Kablovi sa
armaturom tip PP41,PP44 i PP45
do 1kV |
H |
D f |
a |
b |
c |
e |
d1 f |
d2 f |
Zapremina smole |
1-žilni
mm2 |
2-žilni
mm2 |
3-žilni
mm2 |
4-žilni
mm2 |
mm |
mm |
mm |
mm |
mm |
mm |
mm |
mm |
cm3 |
| SKGm 6 |
1.5-50 |
1.5-6 |
1.5-6 |
1.5-6 |
100 |
45 |
20 |
15 |
10 |
35 |
10 |
25 |
125 |
| SKGm 25 |
70-240 |
10-35 |
10-25 |
10-25 |
125 |
60 |
25 |
15 |
10 |
50 |
15 |
35 |
255 |
| SKGm 70 |
300-400 |
50-70 |
35-70 |
35-70 |
150 |
75 |
35 |
20 |
10 |
60 |
30 |
50 |
505 |
| SKGm 150 |
- |
95-185 |
95-150 |
95-150 |
180 |
90 |
45 |
20 |
10 |
75 |
40 |
65 |
790 |
| SKGm 240 |
- |
240 |
185-240 |
185-240 |
220 |
110 |
60 |
25 |
15 |
85 |
45 |
75 |
1265 |
| SKGm 300 |
- |
300 |
300 |
300 |
240 |
125 |
70 |
25 |
15 |
95 |
55 |
85 |
1580 |
ZAVRŠNICE SKGmv i SKGLv, 6 i 10 kV
Završnice SKGmv (unutrašnja montaža) i SKGLv (spoljna montaža), 6 i
10 kV koriste se za završavanje neekranizovanih trožilnih armiranih PVC kablova tipa
PP41, PP44, PP45..., nazivnog napona 6 i 10 kV.
Izrada završnica vrši se postupkom nalivanja dvokomponentne epoksidne smole.
U slučaju primene na otvorenim prostorima tzv. spoljašnja montaža završnica SKGLv
sadrži odgovarajući broj izolacionih članaka za povećanje puzne staze.
Izbor veličine završnice vrši se prema datoj tabeli i zavisi od tipa i preseka kabla.
Izrada završnica vrši se prema uputstvu koje je sastavni deo svakog kompleta.

| Oznaka
veličine |
6 kV |
10 kV |
H |
D f |
d* |
a |
b |
c |
e |
d1 f |
d2 f |
6 kV |
10 kV |
Zapremina smole |
| Broj
žila i presek provodnika do mm2 |
mm |
mm |
mm |
mm |
mm |
mm |
mm |
mm |
mm |
L
mm |
cm3 |
| SKGmv 70 |
3x95 |
3x70 |
220 |
110 |
35 |
55 |
30 |
10 |
95 |
40 |
65 |
360 |
380 |
1265 |
| SKGmv 150 |
3x185 |
3x150 |
265 |
125 |
40 |
65 |
30 |
15 |
120 |
45 |
75 |
360 |
380 |
1900 |
| SKGmv 240 |
3x300 |
3x240 |
290 |
135 |
45 |
75 |
30 |
15 |
135 |
55 |
85 |
360 |
380 |
2530 |
* ) f izlaznog otvora žile
| Oznaka
veličine |
6 kV |
10 kV |
H |
D f |
d* |
a |
b |
c |
e |
d1 f |
d2 f |
6 kV |
10 kV |
Zapremina smole |
| Broj
žila i presek provodnika do mm2 |
mm |
mm |
mm |
mm |
mm |
mm |
mm |
mm |
mm |
L
mm |
cm3 |
| SKGLv 70 |
3x95 |
3x70 |
220 |
110 |
35 |
55 |
30 |
10 |
95 |
40 |
65 |
700 |
750 |
1265 |
| SKGLv 150 |
3x185 |
3x150 |
265 |
125 |
40 |
65 |
30 |
15 |
120 |
45 |
75 |
700 |
750 |
1900 |
| SKGLv 240 |
3x300 |
3x240 |
290 |
135 |
45 |
75 |
30 |
15 |
135 |
55 |
85 |
700 |
750 |
2530 |
* ) f izlaznog otvora žile

ZAVRŠNICE SKGvej (SKGLvej) i SKGve (SKGLve),10 kV
Završnice SKGvej (unutrašnja montaža) i SKGLvej
(spoljna montaža), 10kV koriste se za završavanje ekranizovanih jednožilnih PVC kablova
tipa PHP48, nazivnog napona 10 kV.
Završnice SKGve (unutrašnja montaža) i SKGLve (spoljna montaža), 10kV koriste se za
završavanje ekranizovanih trožilnih PVC kablova tipa PHP48, PHP81, PHP84..., nazivnog
napona 10 kV.
Izrada završnica vrši se postupkom nalivanja dvokomponentne epoksidne smole.
U cilju smanjenja (regulacije) električnog polja u oblasti prekida poluprovodnog sloja
koristi se maramica FSD ili RZ100 koja je napravljena od materijala sa nelinearnom V-A
karakteristikom.
U slučaju primene na otvorenim prostorima tzv. spoljašnja montaža završnice SKGLvej i
SKGLve sadrže odgovarajući broj izolacionih članaka za povećanje puzne staze.
Izbor veličine završnice vrši se prema datoj tabeli i zavisi od tipa i preseka kabla.
Izrada završnica vrši se prema uputstvu koje je sastavni deo svakog kompleta.

Oznaka veličine |
Presek
provodnika |
H |
D f |
a |
b |
c |
d1 f |
d2 f |
Lmin |
Zapremina
smole |
mm2 |
mm |
mm |
mm |
mm |
mm |
mm |
mm |
mm |
mm3 |
| SKGvej 25 |
25-95 |
125 |
60 |
25 |
30 |
45 |
15 |
35 |
400 |
255 |
| SKGvej 70 |
120-240 |
150 |
75 |
35 |
30 |
60 |
30 |
50 |
400 |
505 |
| SKGvej 150 |
300-400 |
180 |
90 |
45 |
35 |
70 |
40 |
65 |
400 |
790 |
Oznaka
veličine |
Presek
provodnika |
H |
D f |
a |
b |
c |
d1 f |
d2 f |
Lmin |
Zapremina
smole |
| mm2 |
mm |
mm |
mm |
mm |
mm |
mm |
mm |
mm |
mm3 |
| SKGLvej 25 |
25-95 |
125 |
60 |
25 |
30 |
45 |
15 |
35 |
450 |
255 |
| SKGLvej 70 |
120-240 |
150 |
75 |
35 |
30 |
60 |
30 |
50 |
450 |
505 |
| SKGLvej 150 |
300-400 |
180 |
90 |
45 |
35 |
70 |
40 |
65 |
450 |
790 |
Oznaka veličine |
Presek
provodnika |
H |
D f |
d*)f |
a |
b |
c |
e |
d1 f |
d2 f |
Zapremina
smole |
| mm2 |
mm |
mm |
mm |
mm |
mm |
mm |
mm |
mm |
mm |
mm3 |
| SKGve 70 |
25-70 |
210 |
110 |
35 |
50 |
30 |
40 |
60 |
40 |
65 |
1265 |
| SKGve 150 |
95-150 |
265 |
125 |
40 |
70 |
30 |
50 |
70 |
45 |
75 |
1900 |
| SKGve 240 |
185-240 |
290 |
135 |
45 |
70 |
40 |
55 |
80 |
55 |
85 |
2530 |
* ) f izlaznog otvora žile

ZAVRŠNICE SKGvex i SKGLvex, 10 kV
Završnice SKGvex (unutrašnja montaža) i SKGLvex (spoljna montaža),
10kV koriste se za završavanje ekranizovanih trožilnih XLPE kablova tipa XHP48, XHP44,
XHP45..., nazivnog napona 10 kV.
Izrada završnica vrši se postupkom nalivanja dvokomponentne epoksidne smole.
U cilju smanjenja (regulacije) električnog polja u oblasti prekida poluprovodnog sloja
koristi se maramica FSD ili RZ100 koja je napravljena od materijala sa nelinearnom V-A
karakteristikom.
U slučaju primene na otvorenim prostorima tzv. spoljašnja montaža završnice SKGLvex
sadrže odgovarajući broj izolacionih članaka za povećanje puzne staze.
Izbor veličine završnice vrši se prema datoj tabeli i zavisi od tipa i preseka kabla.
Izrada završnica vrši se prema uputstvu koje je sastavni deo svakog kompleta.
Oznaka veličine |
Presek
provodnika |
H |
D f |
d*) f |
a |
b |
c |
e |
d1 f |
d2 f |
Zapremina
smole |
mm2 |
mm |
mm |
mm |
mm |
mm |
mm |
mm |
mm |
mm |
mm3 |
| SKGvex 70 |
25-70 |
210 |
110 |
35 |
50 |
30 |
40 |
60 |
40 |
65 |
1265 |
| SKGvex 150 |
95-150 |
265 |
125 |
40 |
70 |
30 |
50 |
70 |
45 |
75 |
1900 |
| SKGvex 240 |
185-240 |
290 |
135 |
45 |
70 |
40 |
55 |
80 |
55 |
85 |
2530 |
* ) f izlaznog otvora žile
SPOJNICA SKSmv, 6 i
10 kV
Spojnica SKSmv,6 i 10 kV koristi se za spajanje neekranizovanih trožilnih
armiranih PVC kablova tipa PP41, PP44, PP45..., nazivnog napona 6 i 10 kV.
Izrada spojnica ovog tipa vrši se postupkom nalivanja dvokomponentne epoksidne smole.
Prespajanje armature izvršeno je "Potenz" kavezom.
Izbor veličine spojnice vrši se prema datoj tabeli i zavisi od tipa i preseka kabla.
Izrada spojnice vrši se prema uputstvu koje je sastavni deo svakog kompleta.
| Oznaka
veličine |
6 kV |
10 kV |
L |
H |
D f |
a |
b |
c |
e |
d1 f |
d2 f |
x |
y |
Zapremina smole |
Broj
žila i presek provodnika
do mm2 |
mm |
mm |
mm |
mm |
mm |
mm |
mm |
mm |
mm |
mm |
mm |
mm3 |
| SKSmv 70 |
3x95 |
3x70 |
580 |
130 |
115 |
60 |
30 |
15 |
300 |
35 |
65 |
25 |
20 |
4115 |
| SKSmv 150 |
3x185 |
3x150 |
640 |
145 |
130 |
65 |
30 |
15 |
350 |
45 |
75 |
25 |
20 |
5700 |
| SKSmv 240 |
3x300 |
3x240 |
700 |
155 |
140 |
75 |
30 |
15 |
390 |
55 |
85 |
25 |
20 |
6645 |
SPOJNICA SKSvej i
SKSve, 10 kV
Spojnica SKSvej i SKSve,10 kV koristi se za spajanje ekranizovanih jednožilnih i
trožilnih PVC kablova tipa PHP48, nazivnog napona 10 kV.
Izrada spojnica ovog tipa vrši se postupkom nalivanja dvokomponentne epoksidne smole.
U cilju smanjenja (regulacije) električnog polja u oblasti prekida poluprovodnog sloja
koristi se maramica FSD ili RZ100 koja je napravljena od materijala sa nelinearnom V-A
karakteristikom.
Prespajanje armature izvršeno je "Potenz" kavezom.
Izbor veličine spojnice vrši se prema datoj tabeli i zavisi od tipa i preseka kabla.
Izrada spojnice vrši se prema uputstvu koje je sastavni deo svakog kompleta.
Oznaka veličine |
Presek
provodnika |
H |
D f |
d*) f |
a |
b |
c |
e |
d1 f |
d2 f |
Zapremina smole |
mm2 |
mm |
mm |
mm |
mm |
mm |
mm |
mm |
mm |
mm |
mm3 |
| SKSvej 50 |
16-25 |
350 |
75 |
65 |
25 |
20 |
110 |
25 |
45 |
20 |
950 |
| SKSvej 95 |
35-70 |
440 |
95 |
80 |
35 |
20 |
135 |
30 |
55 |
20 |
1580 |
| SKSvej 150 |
95-185 |
530 |
110 |
95 |
45 |
25 |
165 |
40 |
65 |
20 |
2530 |
| SKSvej 240 |
240-400 |
620 |
125 |
110 |
55 |
35 |
185 |
50 |
80 |
25 |
4115 |
SPOJNICA SKSvex 10
kV
Spojnica SKSvex 10 kV koristi se za spajanje ekranizovanih trožilnih
XLPE kablova tipa XHP48, XHP44, XHP45... nazivnog napona 10 kV.
Izrada spojnica ovog tipa vrši se postupkom nalivanja dvokomponentne epoksidne smole.
U cilju smanjenja (regulacije) električnog polja u oblasti prekida poluprovodnog sloja
koristi se maramica FSD ili RZ100 koja je napravljena od materijala sa nelinearnom V-A
karakteristikom.
Izbor veličine spojnice vrši se prema datoj tabeli i zavisi od tipa i preseka kabla.
Izrada spojnice vrši se prema uputstvu koje je sastavni deo svakog kompleta.
Oznaka veličine |
Presek
provodnika |
L |
H |
D f |
d*) f |
a |
b |
c |
e |
d1 f |
d2 f |
Zapremina smole |
mm2 |
mm |
mm |
mm |
mm |
mm |
mm |
mm |
mm |
mm |
mm |
mm3 |
| SKSvex 70 |
16-50 |
580 |
130 |
115 |
30 |
25 |
50 |
150 |
35 |
65 |
235 |
4115 |
| SKSvex 150 |
70-120 |
640 |
145 |
130 |
40 |
25 |
60 |
155 |
45 |
75 |
250 |
5700 |
| SKSvex 240 |
150-300 |
700 |
155 |
140 |
40 |
30 |
70 |
165 |
55 |
85 |
275 |
6645 |
UPUTSTVO ZA RAD
SA EPOKSI SMOLAMA
''SMOLIT'', koji služi za nalivanje kablovskih glava i spojnica,
je jedna vrsta epoksi smole. Epoksi smole i hemikalije koje se koriste u njihovoj primeni
( očvršćivači,ubrzivači i razredjivači ) su vrlo reaktivna i opasna jedinjenja. Rad
sa epoksi smolama može, ukoliko se ne vodi računa , da izazove dermatitis ( zapaljenje
kože ). Ovo zapaljenje može da onesposobi radnika koji radi sa smolom nekoliko nedelja.
Zbog kumulativnog dejstva prethodno oboleli radnik može, posle rada sa smolama, ponovo
vrlo lako da oboli. Prilikom rada sa ovim smolama može doći i do težih oblika
zapaljenja, odnosno alergijskih osetljivosti koje se manifestuju kao otekline, crvenilo,
plikovi koji prskaju itd. Kontakt sa ovim materijalima može da izazove i druge promene
kao što su znojenje, nadražaj nosa i grla, glavobolja, alergijska kijavica itd.
Pare materijala sa kojim se radi, kao i prah koji nastaje pri mašinskoj obradi, mogu da
izazovu nadražaj očiju i organa za disanje.
Da bi se izbegle pojave dermatitisa i drugih oboljenja potrebno je pridržavati se
sledećih pravila:
1. Sprečiti direktne kontakte ruku ( i drugih delova tela ) sa
smolama.
2. Koristiti ventilaciju pri mešanju smola sa očvršćivačima kako bi se izbeglo
udisanje štetnih para.
3. Da bi se zaštitila koža za vreme livenja ili izlivanja, treba nositi zaštitno odelo
i rukavice postavljene
pamukom ili najlonskom tkaninom.
4. Treba koristiti neutralne ili kisele sapune umesto alkalnih sapuna, sapunskih pra{kova
ili VIM-a.
5. Treba izbegavati upotrebu acetona, alkohola ili nekih rastvarača za čišćenje kože.
Ovi rastvarači mogu takodje da izazovu dermatitis ili druge nadražaje kože.
6. Umesto tekstilnih krpa i peškira treba uvesti papirne peškire i maramice, koji se
posle upotrebe bacaju.
7. Prosutu smolu ili očvršćivač odmah oprati toplom vodom ili blagim sapunom. U
slučaju da moraju da se koriste rastvarači upotrebiti metilenhlorid ili neki sličan
nezapaljivi rastvarač.
8. Potrebno je očistiti stolove, uredjaje, alat i prostorije posle rada od ostataka
očvrslih epoksi smola i njihovih prahova.
Umrežene tj. očvrsle epoksi smole ne pokazuju nikakve toksične efekte.
|