Cable
accessories
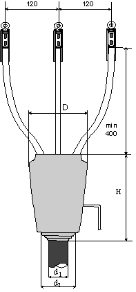
TERMINATION SKGm 1 kV
It is used for terminating low voltage PVC insulated
power cables up to 1kV. Termination is made by moulding two components epoxy resin,
according to Mounting instruction of the manufacturer. The choice of the termination is
according to following table.

Mark
|
Armoured cables
type PP41,PP44 i PP45
do 1kV |
H |
D f |
a |
b |
c |
e |
d1 f |
d2 f |
Volume of
resin |
1-corei
mm2 |
2-cores
mm2 |
3-cores
mm2 |
4-cores
mm2 |
mm |
mm |
mm |
mm |
mm |
mm |
mm |
mm |
cm3 |
| SKGm 6 |
1.5-50 |
1.5-6 |
1.5-6 |
1.5-6 |
100 |
45 |
20 |
15 |
10 |
35 |
10 |
25 |
125 |
| SKGm 25 |
70-240 |
10-35 |
10-25 |
10-25 |
125 |
60 |
25 |
15 |
10 |
50 |
15 |
35 |
255 |
| SKGm 70 |
300-400 |
50-70 |
35-70 |
35-70 |
150 |
75 |
35 |
20 |
10 |
60 |
30 |
50 |
505 |
| SKGm 150 |
- |
95-185 |
95-150 |
95-150 |
180 |
90 |
45 |
20 |
10 |
75 |
40 |
65 |
790 |
| SKGm 240 |
- |
240 |
185-240 |
185-240 |
220 |
110 |
60 |
25 |
15 |
85 |
45 |
75 |
1265 |
| SKGm 300 |
- |
300 |
300 |
300 |
240 |
125 |
70 |
25 |
15 |
95 |
55 |
85 |
1580 |
TERMINATIONS SKGmv and
SKGLv, 6 and 10 kV
Indoor termination SKGmv and outdoor termination SKGLv, are used for terminating PVC
insulated, unscreened, three core armoured cables for voltages 6 and 10 kV.
When using outdoors, a proper number of insulating sheds is
provided.
Termination is made by moulding two components epoxy resin,
according to Mounting instruction of the manufacturer. The choice of the termination is
according to following tables.
| Mark |
6 kV |
10 kV |
H |
D f |
d* |
a |
b |
c |
e |
d1 f |
d2 f |
6 kV |
10 kV |
Volume
of resin |
| Number
of cores ´ cross section mm2 |
mm |
mm |
mm |
mm |
mm |
mm |
mm |
mm |
mm |
L
mm |
cm3 |
| SKGmv 70 |
3x95 |
3x70 |
220 |
110 |
35 |
55 |
30 |
10 |
95 |
40 |
65 |
360 |
380 |
1265 |
| SKGmv 150 |
3x185 |
3x150 |
265 |
125 |
40 |
65 |
30 |
15 |
120 |
45 |
75 |
360 |
380 |
1900 |
| SKGmv 240 |
3x300 |
3x240 |
290 |
135 |
45 |
75 |
30 |
15 |
135 |
55 |
85 |
360 |
380 |
2530 |
* ) Diameter of mould hole, that core passes through

| Mark |
6 kV |
10 kV |
H |
D f |
d* |
a |
b |
c |
e |
d1 f |
d2 f |
6 kV |
10 kV |
Volume
of resin |
| Number
of cores ´ cross section mm2 |
mm |
mm |
mm |
mm |
mm |
mm |
mm |
mm |
mm |
L
mm |
cm3 |
| SKGLv 70 |
3x95 |
3x70 |
220 |
110 |
35 |
55 |
30 |
10 |
95 |
40 |
65 |
700 |
750 |
1265 |
| SKGLv 150 |
3x185 |
3x150 |
265 |
125 |
40 |
65 |
30 |
15 |
120 |
45 |
75 |
700 |
750 |
1900 |
| SKGLv 240 |
3x300 |
3x240 |
290 |
135 |
45 |
75 |
30 |
15 |
135 |
55 |
85 |
700 |
750 |
2530 |
* ) Diameter of mould hole, that core passes
through

TERMINATIONS SKGvej (SKGLvej)
and SKGve (SKGLve) 10 kV
Indoor termination SKGvej and outdoor termination SKGLvej are used for terminating PVC
insulated, screened, single core unarmoured cables up to10 kV.
Indoor termination SKGve
and outdoor termination SKGLve, are used for terminating PVC insulated,
screened, three core unarmoured cables up to10 kV.
When using outdoors, a proper number of insulating sheds is provided. In order to
reduce electrical field to the permissible value in the region of interrupt of
semi-conducting layers, the stress-grading pad, made of material with non-linear
volt-ampere characteristic is used.
Termination is made by moulding two components epoxy resin, according to Mounting
instruction of the manufacturer. The choice of the termination is according to following
tables


Mark |
Cross
section |
H |
D f |
a |
b |
c |
d1 f |
d2 f |
Lmin |
Volume of
resin |
mm2 |
mm |
mm |
mm |
mm |
mm |
mm |
mm |
mm |
mm3 |
| SKGvej 25 |
25-95 |
125 |
60 |
25 |
30 |
45 |
15 |
35 |
400 |
255 |
| SKGvej 70 |
120-240 |
150 |
75 |
35 |
30 |
60 |
30 |
50 |
400 |
505 |
| SKGvej 150 |
300-400 |
180 |
90 |
45 |
35 |
70 |
40 |
65 |
400 |
790 |
Mark |
Cross
section |
H |
D f |
a |
b |
c |
d1 f |
d2 f |
Lmin |
Volume of resin |
mm2 |
mm |
mm |
mm |
mm |
mm |
mm |
mm |
mm |
mm3 |
| SKGLvej 25 |
25-95 |
125 |
60 |
25 |
30 |
45 |
15 |
35 |
450 |
255 |
| SKGLvej 70 |
120-240 |
150 |
75 |
35 |
30 |
60 |
30 |
50 |
450 |
505 |
| SKGLvej 150 |
300-400 |
180 |
90 |
45 |
35 |
70 |
40 |
65 |
450 |
790 |
Mark |
Cross
section |
H |
D f |
d*)f |
a |
b |
c |
e |
d1 f |
d2 f |
Volume of resin |
mm2 |
mm |
mm |
mm |
mm |
mm |
mm |
mm |
mm |
mm |
mm3 |
| SKGve 70 |
25-70 |
210 |
110 |
35 |
50 |
30 |
40 |
60 |
40 |
65 |
1265 |
| SKGve 150 |
95-150 |
265 |
125 |
40 |
70 |
30 |
50 |
70 |
45 |
75 |
1900 |
| SKGve 240 |
185-240 |
290 |
135 |
45 |
70 |
40 |
55 |
80 |
55 |
85 |
2530 |
* ) Diameter of mould hole, that core passes
through
TERMINATIONS SKGvex and
SKGLvex 10 kV
Indoor termination SKGvex and outdoor termination SKGLvex are used for terminating XLPE
insulated, screened, three core, armoured or unarmoured cables up to10 kV.
When using outdoors, a proper number of insulating sheds is provided. In order to reduce
electrical field to the permissible value in the region of interrupt of semi-conducting
layers, the stress-grading pad, made of material with non-linear volt-ampere
characteristic is used.
Termination is made by moulding two components epoxy resin, according to Mounting
instruction of the manufacturer. The choice of the termination is according to following
table.
Mark |
Cross
section |
H |
D f |
d*) f |
a |
b |
c |
e |
d1 f |
d2 f |
Volume of resin |
mm2 |
mm |
mm |
mm |
mm |
mm |
mm |
mm |
mm |
mm |
mm3 |
| SKGvex 70 |
25-70 |
210 |
110 |
35 |
50 |
30 |
40 |
60 |
40 |
65 |
1265 |
| SKGvex 150 |
95-150 |
265 |
125 |
40 |
70 |
30 |
50 |
70 |
45 |
75 |
1900 |
| SKGvex 240 |
185-240 |
290 |
135 |
45 |
70 |
40 |
55 |
80 |
55 |
85 |
2530 |
* ) Diameter of mould hole, that core
passes through
JOINT SKSmv, 6 and 10 kV
Joint SKSmv, 6 and 10 kV is used for
jointing PVC insulated, unscreened, three core, armoured cables up to10 kV.
The connection of armour of both cables is carried out with metal cage.
The joint is made by moulding two components epoxy resin according to Mounting
instruction of the manufacturer. The choice of the termination is according to following
table.
| Mark |
6 kV |
10 kV |
L |
H |
D f |
a |
b |
c |
e |
d1 f |
d2 f |
x |
y |
Volume of resin |
| Number
of core ´ cross section mm2 |
mm |
mm |
mm |
mm |
mm |
mm |
mm |
mm |
mm |
mm |
mm |
mm3 |
| SKSmv 70 |
3x95 |
3x70 |
580 |
130 |
115 |
60 |
30 |
15 |
300 |
35 |
65 |
25 |
20 |
4115 |
| SKSmv 150 |
3x185 |
3x150 |
640 |
145 |
130 |
65 |
30 |
15 |
350 |
45 |
75 |
25 |
20 |
5700 |
| SKSmv 240 |
3x300 |
3x240 |
700 |
155 |
140 |
75 |
30 |
15 |
390 |
55 |
85 |
25 |
20 |
6645 |
JOINTS SKSvej and
SKSve 10 kV
Joints SKSvej and SKSve 10 kV are used for jointing PVC insulated,
screened, single and three core, unarmoured cables up to10 kV.
In order to reduce electrical field to the permissible value in the region of interrupt of
semi-conducting layers, the stress-grading pad, made of material with non-linear
volt-ampere characteristic is used. The connection of copper tape screen of both cables is
carried out with metal cage.
The joint is made by moulding two components epoxy resin according to Mounting instruction
of the manufacturer. The choice of the termination is according to following tables.
Mark |
Cross section |
H |
D f |
d*) f |
a |
b |
c |
e |
d1 f |
d2 f |
Volume of resin |
mm2 |
mm |
mm |
mm |
mm |
mm |
mm |
mm |
mm |
mm |
mm3 |
| SKSvej 50 |
16-25 |
350 |
75 |
65 |
25 |
20 |
110 |
25 |
45 |
20 |
950 |
| SKSvej 95 |
35-70 |
440 |
95 |
80 |
35 |
20 |
135 |
30 |
55 |
20 |
1580 |
| SKSvej 150 |
95-185 |
530 |
110 |
95 |
45 |
25 |
165 |
40 |
65 |
20 |
2530 |
| SKSvej 240 |
240-400 |
620 |
125 |
110 |
55 |
35 |
185 |
50 |
80 |
25 |
4115 |
JOINT
SKSvex 10 kV
Joint SKSvex 10 kV is used for jointing XLPE insulated, screened, three
core, unarmoured or armoured cables up to10 kV.
In order to reduce electrical field to the permissible value in the region of interrupt of
semi-conducting layers, the stress-grading pad, made of material with non-linear
volt-ampere characteristic is used. The primary insulation of joint is made of dual-wall
heat-shrinkable insulation tubes.
The outer protection of joint is made by moulding two components epoxy resin according to
Mounting instruction of the manufacturer. The choice of the termination is according to
following table.
.
Oznaka veličine |
Presek
provodnika |
L |
H |
D f |
d*) f |
a |
b |
c |
e |
d1 f |
d2 f |
Zapremina smole |
mm2 |
mm |
mm |
mm |
mm |
mm |
mm |
mm |
mm |
mm |
mm |
mm3 |
| SKSvex 70 |
16-50 |
580 |
130 |
115 |
30 |
25 |
50 |
150 |
35 |
65 |
235 |
4115 |
| SKSvex 150 |
70-120 |
640 |
145 |
130 |
40 |
25 |
60 |
155 |
45 |
75 |
250 |
5700 |
| SKSvex 240 |
150-300 |
700 |
155 |
140 |
40 |
30 |
70 |
165 |
55 |
85 |
275 |
6645 |
|